展开
收缩
在线客服
客服1
客服2
客服3
上海琼海防水保温工程有限公司
电话:021-3351-9125
中文
|
English
设为首页
加入收藏
联系我们
网站首页
企业简介
经营范围
防水工程
保温防腐工…
堵漏工程
安全护栏工…
机具租赁
经典案例
境外项目
汽车配件
粮库类
化工行业类…
制药业
市政工程类…
房地产类
工业厂房类…
仓储 、商…
光伏项目
公司业绩
合作伙伴
西卡logo
东方雨虹
索普瑞玛
卡莱
欧文斯科宁
凡士通
可耐福
凡士通
中国节能
施工机具
联系我们
经
营范围
/ Operating
防水工程
防水工程
细部处理
保温防腐工程
防腐工程
保温工程
堵漏工程
安全护栏工程
安全护栏
机具租赁
自动焊机租赁
手持焊枪租赁
联
系我们
/ Contact
名称:上海琼海防水保温工程有限公司
地址:上海市嘉定区曹安公路1877号曹安国际商城B区829室
公司邮箱:
1138292960@qq.com
联系人:毕经理
电话:021-3351-9125
手机:139-1826-4612
公
司业绩
/ Performance
经营范围
/ Operating range
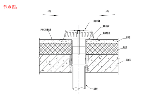
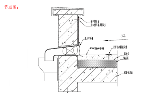
屋面细节处理
上一页:
没有啦!
下一页:
没有啦!
返 回
网站首页
|
企业简介
|
经营范围
|
经典案例
|
公司业绩
|
合作伙伴
|
施工机具
|
机具租赁
|
联系我们
|
后台管理
|
上海琼海防水保温工程有限公司
沪ICP备14051702号-1